
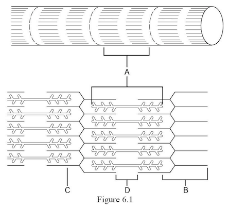
The I band within a skeletal muscle fiber is indicated by ________.
A) Label A
B) Label B
C) Label C
D) Label D
B

The A band within a skeletal muscle fiber is indicated by ________.
A) Label A
B) Label B
C) Label C
D) Label D
A

The H zone, located within the A band, lacks thin filaments and is represented by ________.
A) Label A
B) Label B
C) Label C
D) Label D
D

The myofilament composed of actin is indicated by ________. A) Label A
B) Label B
C) Label C
D) Label D
C

The epimysium is represented by ________.
A) Label A
B) Label B
C) Label C
D) Label D
A

The perimysium wraps a fascicle of muscle cells and is represented by ________.
A) Label A
B) Label B
C) Label C
D) Label D
C

The muscle fiber (cell) is indicated by ________.
A) Label A
B) Label B
C) Label C
D) Label D
D

The endomysium that wraps individual muscle fibers is indicated by ________.
A) Label A
B) Label B
C) Label C
D) Label D
B
Striated involuntary muscle tissue is classified as ________ muscle.
A) skeletal
B) cardiac
C) smooth
D) either smooth or skeletal
B
The epimysium covering on the outside of the muscle can blend into cordlike ________ or sheetlike ________.
A) tendons; aponeuroses
B) ligaments; tendons
C) fascia; ligaments
D) aponeuroses; ligaments
A
The ________ is an organelle that wraps and surrounds the myofibril and stores calcium.
A) cross bridge
B) sarcomere
C) sarcolemma
D) sarcoplasmic reticulum
D
Muscle tissue has the ability to shorten when adequately stimulated, a characteristic known as ________.
A) elasticity
B) irritability
C) contractility
D) extensibility
C
One neuron and all the skeletal muscles it stimulates is known as a ________.
A) sarcoplasmic reticulum
B) motor unit
C) synaptic cleft
D) neuromuscular junction
B
The heads of the myosin myofilaments are called ________ when they link the thick and thin filaments together during skeletal muscle contraction.
A) neuromuscular junctions
B) synapses
C) cross bridges
D) motor units
C
The gap between the motor neuron and the muscle fiber it supplies at the neuromuscular junction is called the ________. A) synaptic cleft
B) motor unit
C) cross bridge
D) H zone
A
When a skeletal muscle is fully contracted, the ________ are closer to the thick filaments.
A) Z discs
B) M lines
C) cross bridges
D) A bands
A
Anaerobic glycolysis requires ________ to make ATP.
A) creatine phosphate
B) oxygen
C) glucose
D) both oxygen and glucose
B
A smooth, sustained contraction is called ________.
A) fused, or complete, tetanus
B) a twitch
C) unfused, or incomplete, tetanus
D) summing of contractions
A
Contractions in which muscles shorten and produce movement are known as ________.
A) isotonic contractions
B) twitches
C) isometric contractions
D) resistance exercises
C
The point of muscle attachment to an immovable or less movable bone is known as the ________.
A) innervation
B) action
C) insertion
D) origin
D
Muscles that perform opposite actions to one another are termed ________.
A) synergists
B) prime movers
C) antagonists
D) fixators
C
The arrangement of fascicles in orbicularis oris is ________.
A) circular
B) convergent
C) pennate
D) fusiform
A
The muscle that closes each eye is the ________.
A) orbicularis oris
B) frontalis
C) orbicularis oculi
D) zygomaticus
C
The prime mover of arm abduction is the ________ muscle.
A) trapezius
B) deltoid
C) latissimus dorsi
D) quadratus lumborum
B
The hamstring group is the prime mover of thigh ________ and knee ________.
A) extension; flexion
B) dorsiflexion; plantar flexion
C) abduction; adduction
D) rotation; circumduction
A
An inherited disease that causes muscles to degenerate and atrophy is known as ________.
A) torticollis
B) muscular dystrophy
C) cystic fibrosis
D) myasthenia gravis
B
Striated involuntary muscle tissue found in the heart is ________.
A) smooth muscle
B) skeletal muscle
C) dense regular
D) cardiac muscle
E) dense irregular
D
Endomysium covers ________.
A) fascicles of muscle cells
B) an entire muscle
C) an individual muscle cell
D) myofibrils
E) smooth muscle only
C

The type of muscle tissue pictured in Figure 6.3 is ________.
A) skeletal muscle
B) voluntary
C) striated
D) found only in the heart
E) smooth muscle
E
The plasma membrane of a skeletal muscle cell is called the ________.
A) sarcolemma
B) sarcomere
C) myofilament
D) sarcoplasm
E) sarcoplasmic reticulum
A
Smooth muscle cells are ________.
A) multinucleate
B) involuntary
C) branched
D) striated
E) cylindrical
B
Which type of muscle tissue contracts most quickly upon stimulation?
A) skeletal
B) visceral
C) cardiac
D) smooth
E) tendons
A
Which of the following is NOT a function of the muscular system?
A) production of movement
B) maintenance of posture
C) stabilization of joints
D) generation of heat
E) hematopoiesis
E
A sarcomere is ________.
A) the nonfunctional unit of skeletal muscle
B) the contractile unit between two Z discs
C) the area between two intercalated discs
D) the wavy lines on the cell, as seen in a microscope
E) a compartment in a myofilament
B
Which one of the following is composed of myosin protein?
A) thick filaments
B) thin filaments
C) all myofilaments
D) Z discs
E) light bands
A
Cross bridges are created when myosin heads bind to ________.
A) thick filaments
B) sarcomeres
C) thin filaments
D) sarcoplasmic reticula
E) myosin filaments
C
A motor neuron and all of the skeletal muscle fibers it stimulates are termed a ________.
A) myofilament
B) synaptic cleft
C) motor unit
D) neuromuscular junction
E) neurotransmitter
C
Why are calcium ions necessary for skeletal muscle contraction?
A) calcium increases the action potential transmitted along the sarcolemma
B) calcium releases the inhibition on Z discs
C) calcium triggers the binding of myosin to actin
D) calcium causes ATP binding to actin
E) calcium binds to regulatory proteins on the myosin filaments, changing both their shape and their position on the thick filaments
C
The mechanical force of contraction is generated by ________.
A) shortening of the thick filaments
B) shortening of the thin filaments
C) a sliding of thin filaments past thick filaments
D) the "accordian-like" folding of thin and thick filaments
E) the temporary disappearance of thin filaments
C
Acetylcholine is ________.
A) an ion pump on the postsynaptic membrane
B) a source of energy for muscle contraction
C) a component of thick myofilaments
D) an oxygen-binding protein
E) a neurotransmitter that stimulates skeletal muscle
E
The gap between the axon terminal of a motor neuron and the sarcolemma of a skeletal muscle cell is called the ________.
A) motor unit
B) sarcomere
C) neuromuscular junction
D) synaptic cleft
E) cross bridge
D
Neurotransmitters are released upon stimulation from a nerve impulse by the ________.
A) myofibrils
B) sarcoplasmic reticulum
C) thick filaments
D) axon terminals of the motor neuron
E) sarcolemma of the muscle cell
D
An elaborate and specialized network of membranes in skeletal muscle cells that function in calcium storage is the ________.
A) sarcolemma
B) mitochondria
C) intermediate filament network
D) myofibrillar network
E) sarcoplasmic reticulum
E
During skeletal muscle contraction, myosin heads attach to binding sites associated with ________.
A) myosin filaments
B) actin filaments
C) Z discs
D) thick filaments
E) the H zone
B
Which of the following can actually shorten during a muscle contraction?
A) myosin filament
B) A band
C) actin filament
D) sarcomere
E) myofilamen
D
In order to excite a muscle cell, acetycholine must ________.
A) enter the muscle cell by endocytosis
B) travel into the axon terminal of the nerve cell by endocytosis
C) enter the muscle cell through protein channels
D) bind to receptors in the sarcolemma of the muscle cell
E) break down acetylcholinesterase in the synaptic cleft
D
Which of these events must occur first to trigger the skeletal muscle to generate an action potential and contract?
A) sodium ions rush into the cell
B) acetylcholine (ACh) causes temporary permeability to sodium
C) diffusion of potassium ions out of the cell
D) operation of the sodium-potassium pump
E) acetylcholinesterase (AchE) breaks down acetylcholine (ACh)
B
A skeletal muscle twitch differs from a tetanic contraction in that ________.
A) the tetanic contraction is considered abnormal, while the twitch is a normal muscle response
B) the tetanic contraction is caused by a single stimulus, while the twitch is caused by very rapid multiple stimuli
C) the muscle twitch is prolonged and continuous while a tetanic contraction is brief and "jerky"
D) the muscle twitch occurs only in small muscles while a tetanic contraction occurs in large muscle groups
E) the muscle twitch is a brief and "jerky" movement, while the tetanic contraction is prolonged and continuous
E
Creatine phosphate (CP) functions within the muscle cells by ________.
A) forming a temporary chemical compound with myosin
B) forming a chemical compound with actin
C) inducing a conformational change in the myofilaments
D) storing energy that will be transferred to ADP to resynthesize ATP as needed
E) storing energy that will be transferred to ATP to resynthesize ADP as needed
D
The condition of skeletal muscle fatigue can be best explained by ________.
A) the all-or-none law
B) the inability to generate sufficient quantities of ATP due to feedback regulation of synthesis
C) insufficient intracellular quantities of ATP due to excessive consumption
D) a total lack of ATP
E) inadequate numbers of mitochondria
C
Which of the following is an example of an isometric contraction?
A) shaking the head as to say "no"
B) pushing against an immovable wall
C) bending the elbow
D) rotating the arm
E) nodding the head as to say "yes"
B
Anaerobic glycolysis occurs without ________.
A) ATP
B) oxygen
C) lactic acid
D) carbon dioxide
E) glucose
B
The least movable point of muscle attachment to a bone is termed its ________.
A) bone marking
B) function
C) insertion
D) action
E) origin
E
The movement opposite to abduction is ________.
A) flexion
B) rotation
C) circumduction
D) adduction
E) supination
D
Which of the following muscles closes the jaw?
A) buccinator
B) zygomaticus
C) frontalis
D) sternocleidomastoid
E) both masseter and temporalis
E
Sandra is playing the piano for her recital. Which muscle is NOT involved in the movement of her hands and/or fingers ________.
A) flexor carpi radialis
B) flexor carpi ulnaris
C) extensor digitorum
D) extensor digitorum longus
E) extensor carpi radialis
D
Which of these muscles is a synergist to masseter?
A) sternocleidomastoid
B) temporalis
C) trapezius
D) buccinator
E) orbicularis oris
B
Which muscle helps compress the abdominal contents during defecation or childbirth?
A) internal intercostals
B) deltoids
C) trapezius
D) iliopsoas
E) rectus abdominis
E
A muscle located on the ventral (anterior) side of the body is the ________.
A) pectoralis major
B) occipitalis
C) gastrocnemius
D) gluteus medius
E) latissimus dorsi
A
A nursing infant develops a powerful sucking muscle that adults also use for whistling or blowing a trumpet called the ________.
A) platysma
B) masseter
C) zygomaticus
D) buccinator
E) temporalis
D
What is the main function of the quadriceps group?
A) arm flexion
B) hand supination
C) thigh abduction
D) knee extension
E) foot inversion
D
A muscle group that works with and assists the action of a prime mover is a(n) ________.
A) antagonist only
B) fixator only
C) synergist only
D) antagonist and synergist
E) antagonist and fixator
C
Which muscle is an antagonist to gastrocnemius?
A) sartorius
B) tibialis anterior
C) fibularis brevis
D) fibularis longus
E) soleus
B
Which muscle group includes the biceps femoris, semimembranosus, and semitendinosus?
A) abdominal muscles
B) quadriceps group
C) adductor group
D) fibularis muscles
E) hamstring group
E
Paralysis of which of the following would make an individual unable to flex the hip ________.
A) biceps femoris
B) gastrocnemius
C) tibialis anterior
D) soleus
E) iliopsoas
E
Which one of the following muscles is involved in abduction of the arm at the shoulder joint?
A) deltoid
B) biceps brachii
C) triceps brachii
D) latissimus dorsi
E) pectoralis major
A
What is the origin of the deltoid muscle?
A) proximal radius
B) proximal humerus
C) distal humerus
D) olecranon process of ulna
E) scapular spine and clavicle
E
While doing "jumping jacks" during an exercise class, your arms and legs move laterally away from the midline of your body. This motion is called ________.
A) extension
B) flexion
C) abduction
D) adduction
E) circumduction
C
Which of the following muscles are antagonists?
A) biceps brachii and triceps brachii
B) bicpes femoris and biceps brachii
C) vastus medialis and vastus lateralis
D) masseter and temporalis
E) gastrocnemius and soleus
A
What condition results if muscles are not used, such as when immobilized in a cast for healing a broken bone?
A) hypertrophy
B) lordosis
C) atrophy
D) spina bifida
E) scoliosis
C
Which one of the following is NOT a criterion generally used in naming muscles?
A) relative size of the muscle
B) number of origins of the muscle
C) shape of the muscle
D) method of attachment of the muscle to bone
E) action of the muscle
D
T/F: Cardiac and skeletal muscle both possess striations.
TRUE
T/F: All types of muscle have endomysium covering individual muscle cells
TRUE
T/F: Bundles of muscle fibers are known as aponeuroses
FALSE
T/F: The striations seen in skeletal muscle are actually alternating dark A and light I bands.
TRUE
T/F: The sarcoplasmic reticulum wraps like a sleeve around the myofibril and stores and releases calcium.
TRUE
T/F: A neuromuscular junction consists of one neuron and all the skeletal muscles it stimulates
FALSE
T/F: The neurotransmitter used by the nervous system to activate skeletal muscle cells is acetylcholine.
TRUE
T/F: Thick filaments are made of a protein called actin.
FALSE
T/F: Aerobic respiration requires the use of oxygen to generate ATP.
TRUE
T/F: The fastest mechanism for producing ATP is aerobic respiration.
FALSE
T/F: Isometric contractions produce movement when filaments slide past one another and the muscle shortens.
FALSE
T/F: Aerobic, or endurance, exercise involves jogging or biking
TRUE
T/F: A muscle twitch results when the muscle is stimulated so rapidly that no evidence of relaxation is seen.
FALSE
T/F: The effect of the neurotransmitter on the muscle cell membrane is to temporarily modify its permeability of ions such as Na+ and K+.
TRUE
T/F: When a muscle fiber contracts, the I bands diminish in size, the H zones disappear, and the A bands move closer together but do not diminish in length
TRUE
T/F: Abduction and adduction are antagonistic actions.
TRUE
T/F: The deltoid is a prime mover of arm adduction
FALSE
T/F: The deepest muscle of the abdominal wall is the transversus abdominis
TRUE
T/F: The deltoid muscle is a common site for intramuscular injections
TRUE
T/F: Plantar flexion at the ankle joint is accomplished by the tibialis anterior muscle.
FALSE
T/F: The hamstring group inserts into the distal tibia.
FALSE
T/F: Muscle development in babies occurs in a cephalic/caudal direction.
FALSE
T/F: Supination and pronation refer to up and down movements of the foot at the ankle.
FALSE